文章
  • 文章
搜索
详细说明

AL1401

暂无价格
收藏
  • AL1401
  • 产品参数

技术参数

型号AL1401备注
规格DN50、DN80、DN100、DN125、DN150
适用介质适用于原油、重油、成品油、食用油、化工介质、酒类等液体的顶部装车,接口向上
设计温度-40°C-190°C
设计压力0.6~2.5MPa
材质20#、16Mn、不锈钢



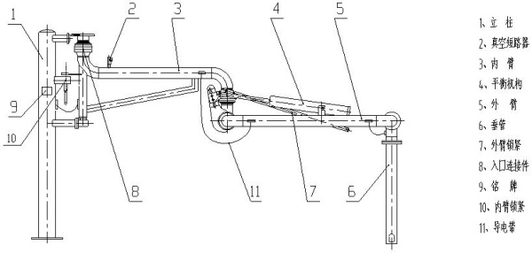
上装鹤管AL1401 下载资料
鹤管选型参数表
1. 公称通径
9栈台高度
mm
2. 输送介质
10接口中心与栈台边缘距离
mm
3. 管道材质
11接口中心与槽车中心距离
mm
4. 旋向左(  )/右(  )12接口法兰距栈台高度
mm
5. 现场接口法兰标准
13最小槽车罐口高度
mm
6. 介质温度
14最大槽车罐口高度
mm
7. 介质压力
15栈台护栏高度
mm
8. 立柱配 / 不配16雨棚高度
mm


地址:连云港市海州区新浦经济开发区永昌路北首

电话:13505130433

邮箱:xianghui579@163.com

微信号:13505130433

技术支持: 15861234016 | 管理登录
×
seo seo