文章
  • 文章
搜索
详细说明

AL1402

暂无价格
收藏
  • 产品说明
  • 产品参数

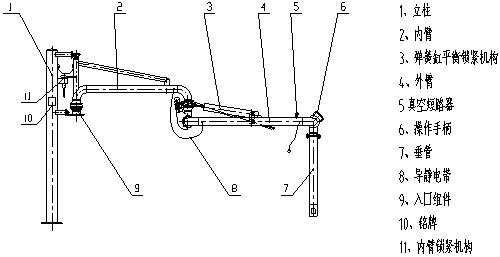
顶部装车鹤管AL1402
技术参数

型号AL1402备注
规格DN50、DN80、DN100、DN125、DN150
适用介质AL1402顶部装车臂适用于汽、煤、柴油、液态化工介质,水煤浆等的汽、火车顶部装卸。
AL1402衬四氟顶部装车臂适用于强酸、氧化剂、碱等强腐蚀性介质的汽、火车顶部装卸,内衬材料:PTFE、PO等。

设计温度-40°C-190°C
设计压力0-2.5MPa
材质20#、16Mn、不锈钢


上装鹤管AL1402 下载资料
鹤管选型参数表
1. 公称通径
9栈台高度
mm
2. 输送介质
10接口中心与栈台边缘距离
mm
3. 管道材质
11接口中心与槽车中心距离
mm
4. 旋向左(  )/右(  )12接口法兰距栈台高度
mm
5. 现场接口法兰标准
13最小槽车罐口高度
mm
6. 介质温度
14最大槽车罐口高度
mm
7. 介质压力
15栈台护栏高度
mm
8. 立柱配 / 不配16雨棚高度
mm


地址:连云港市海州区新浦经济开发区永昌路北首

电话:13505130433

邮箱:xianghui579@163.com

微信号:13505130433

技术支持: 15861234016 | 管理登录
×
seo seo